增強聚丙烯離心泵FP型系列產品均采用機械密封,并引進國際先進工藝和技術配方,全使用CFR-PP(增強聚丙烯)作為泵的材質,在同系列的塑料泵產品中,充分顯示了其結構先進、重量輕、體積小、壽命長等特點,廣泛應用于化工,食品、制藥、電鍍、造紙、環(huán)保、水處理等部門,輸送酸、堿、鹽等腐蝕性液體。其中104型采用220V電壓,可供家庭選用。
增強聚丙烯離心泵FP型型號意義


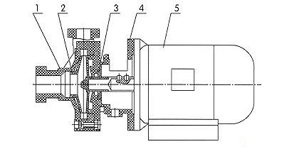
增強聚丙烯離心泵FP型結構


增強聚丙烯離心泵FP型性能參數
|
型號
|
口徑
|
流量
m3/h
|
揚程
m
|
吸程
|
轉速
r/min
|
電壓
v
|
電機
功率 kw
|
|
進口
|
出口
|
|
FP20-15-60 (106)
|
20
|
15
|
1
|
5
|
3
|
2900
|
380
|
0.12
|
|
FP20-20-90 (105)
|
20
|
20
|
3
|
6
|
3
|
380
|
0.37
|
|
FP32-25-100 (104)
|
32
|
25
|
5
|
7
|
6
|
220
|
0.55
|
|
FP32-25-105 (103)
|
32
|
25
|
6.3
|
8
|
6
|
380
|
0.75
|
|
FP32-25-110
|
32
|
25
|
8
|
14
|
6
|
380
|
1.1
|
|
FP40-32-125 (102)
|
40
|
32
|
12.5
|
20
|
6
|
380
|
1.5
|
|
FP50-40-145
|
50
|
40
|
13
|
22
|
6
|
380
|
2.2
|
|
FP65-50-150 (101)
|
65
|
50
|
25
|
25
|
6
|
380
|
4
|
|
50FP-22
|
50
|
40
|
13
|
22
|
6
|
380
|
2.2
|
|
65FP-25
|
65
|
50
|
20
|
25
|
6
|
380
|
4
|
|
80FP-28
|
80
|
65
|
50
|
28
|
4
|
380
|
5.5
|
|
80FP-32
|
80
|
65
|
50
|
32
|
4
|
380
|
7.5
|
|
尺寸
型號
|
A
|
B
|
C
|
D
|
E
|
F
|
G
|
|
FP20-15-60
|
310
|
190
|
20
|
15
|
90
|
70
|
100
|
|
FP20-20-90
|
355
|
200
|
20
|
20
|
110
|
100
|
105
|
|
FP32-25-100
|
370
|
198
|
32
|
25
|
125
|
100
|
110
|
|
FP32-25-105
|
370
|
198
|
32
|
25
|
125
|
100
|
110
|
|
FP32-25-110
|
450
|
235
|
32
|
25
|
125
|
100
|
110
|
|
FP40-32-125
|
470
|
235
|
40
|
32
|
140
|
100
|
125
|
|
FP50-40-145
|
550
|
290
|
50
|
40
|
140
|
100
|
125
|
|
FP65-50-150
|
610
|
340
|
65
|
50
|
190
|
100
|
145
|
1、塑料泵應水平安裝,泵體不得承受管路重量,對于特殊要求垂直安裝的場合,電機務必朝上。
2、泵在使用前泵體內先加水。當抽吸液面高于軸心線時,啟動前打開吸入管道閥門即可,若抽吸液面低于泵軸心線時,管道需配底閥。
3、電機啟動前,應檢查其旋轉方向是否與泵轉向標記一致。
4、被輸送介質及溫度應在泵材質允許的范圍之內(見附表)。離心泵使用溫度FP≤80℃、FS≤60℃電機溫升不得超過80℃,環(huán)境溫度<40℃。
5、禁止空載運行。
附表:塑料泵材質的耐腐蝕性能
|
介質
|
濃度
|
CFR-PP
|
介質
|
濃度
|
ABS
|
|
25℃
|
65℃
|
90℃
|
20℃
|
60℃
|
80℃
|
|
硫酸H2SO4
|
98%
|
√
|
√
|
○
|
硫酸H2SO4
|
<30%
|
√
|
×
|
|
|
70%
|
√
|
√
|
√
|
30-70%
|
○
|
×
|
|
|
1-50%
|
√
|
√
|
√
|
>75%
|
×
|
×
|
|
|
硝酸HNO3
|
濃
|
√
|
√
|
○
|
硝酸HNO3
|
10%
|
√
|
○
|
|
|
20%
|
√
|
√
|
√
|
20%
|
√
|
|
|
|
10%
|
√
|
√
|
√
|
25-35%
|
○
|
|
|
|
|
|
√
|
|
>50%
|
×
|
×
|
|
|
鹽酸HCL
|
0-30%
|
√
|
○
|
×
|
鹽酸HCL
|
<30%
|
√
|
×
|
|
|
氫氟酸
|
|
√
|
○
|
×
|
氫氟酸
|
<10%
|
√
|
×
|
|
|
40-48%
|
√
|
×
|
|
|
醋酸
|
1-50%
|
√
|
√
|
√
|
醋酸
|
<20%
|
√
|
○
|
|
|
磷酸
|
各種濃度
|
√
|
√
|
√
|
>30%
|
×
|
×
|
|
|
氫氧化鈉
|
|
√
|
√
|
√
|
氫氧化鈉
|
|
√
|
√
|
√
|
|
氯化鈉
|
|
√
|
√
|
√
|
氯化鈉
|
|
√
|
√
|
×
|
|
氯化鐵
|
|
√
|
√
|
|
|
乙醇
|
|
√
|
√
|
√
|
乙醇
|
|
√
|
√
|
|
|
漂白液
|
|
√
|
√
|
√
|
漂白液
|
|
○
|
○
|
×
|
說明:√——良好; ○——可用、但有腐蝕; ×——不可用、腐蝕嚴重
泵故障形式與排除方法
|
故障形式
|
產生原因
|
排除方法
|
|
泵不出液
|
-
泵反轉
-
進液管道漏氣
-
泵腔蓄液太少
-
吸程太高
-
底閥漏水
-
葉輪受阻不轉
|
-
改變電機接線
-
杜絕漏氣
-
增加蓄液量
-
降低泵安裝位置
-
清理底閥
-
清洗泵殼、葉輪
|
|
流量不足
|
-
吸入管徑太小
-
葉輪流道阻塞
-
揚程過高
-
吸入管路有空氣漏進
-
葉輪損壞
|
-
調換進液器
-
清洗葉輪
-
開大出液閥
-
杜絕漏氣
-
更換葉輪
|
|
揚程過低
|
-
流量過太
-
轉速太低
|
-
關小出水閥
-
恢復額定轉速
|
|
噪音過低
|
-
泵內有雜物
-
轉動件與固定件碰擦
-
軸嚴重磨損
|
-
檢查清理
-
調整間隙
-
更換泵軸
|
|
漏液
|
-
泵殼固定螺釘松動
-
機械密封嚴重磨損
|
-
擰緊螺釘
-
更換機械密封
-
|
訂貨請盡量提供:1.型號2.口徑3.揚程(m)4.流量5.電機功率(KW)6.轉速(R/min)7.電壓(V)8.材質是否帶附件